Количка със собствените си ръце: преглед на видовете и начините за създаване на декоративни и практични колички
Ръчното подреждане на количките е необходимо, за да се спестят парични средства, тъй като разходите за този инвентар в търговските обекти са доста високи. Друго предимство на тази количка е, че собственикът може да направи продукт, който е точно такъв, какъвто иска и от какъвто се нуждае.
Тази количка е особено търсена в частния сектор и в провинцията, където се извършват различни ремонтни или строителни дейности; тя може да бъде полезна и в селското стопанство. Ако познавате различните производствени методи, можете да направите работеща количка със собствените си ръце.
Различни видове колички
При производството на колички се използват основно два вида суровини: желязо и дърво, тъй като те притежават необходимите здрави характеристики. Количките се различават една от друга по броя на колелата и размерите. Със собствените си ръце можете да изградите
- количка с едно колело;
- количка с две колела;
- продукт тип платформа с четири колела;
- сгъваема версия.
Едноколесната количка се нарича количка. Той може да се транспортира по къса пътека и е известен със способността си да се обръща и надеждността си при работа.
За да освободите количката от товара, трябва само да натиснете двете продълговати дръжки и да я наклоните напред или настрани. Въпреки това е трудно и неудобно да се използва количка с едно колело за преместване на тежки товари. За да не го изпускате от равновесие, ще ви трябват много усилия.
Струва си да се спомене също, че не е подходящ за движение по песъчлива или рохкава почва, тъй като цялата тежест се поема от единственото колело, което понякога се бута и потъва в рохкавата почва.
Подвижна конструкция, снабдена с 2-4 колела, се нарича количка. Такова устройство е по-стабилно, така че е подходящо за пренасяне на всякакви тежки товари. Един от недостатъците му е, че изисква широк път за движение.
Можете да изработите колички от всякакви суровини. Например за транспортиране на стоки до вилата често се използват изделия от дърво с едно колело.
При планиране на строителните работи трябва да се осигурят метални колички. Конструкцията на градинската количка може да бъде разнообразна.
Продуктът може да се монтира самостоятелно с подвижни чекмеджета, крепежни елементи и скоби. Тази количка може да се използва и за транспортиране на обемисти товари, резервоари за вода, малки предмети, хардуер и крепежни елементи.
Изработване на собствена количка
Познаването на различните методи на конструиране улеснява самостоятелното сглобяване на функционална количка. Транспортните колички са изработени от дърво и метал и са достатъчно здрави за целта.
Съществува възможност за изработване на количка с едно колело за нуждите на градинарството от дърво или желязо.
Колички с две колела. Те се произвеждат в различни размери, като изборът на размера зависи от това за какво ще се използват.
Сгъваемата версия се характеризира с удобство при преместване, например при пазаруване от базара или магазина до дома.
Версията с четири колела. Той има четири опори на земята, което увеличава неговата товароносимост, експлоатационен живот и капацитет. Възможно е също така да се използва отлежала бъчва за палет върху мобилната единица.
Материали и инструменти за работа
За метален камион трябва да вземете: ъгъл 25 × 25 mm, метална ламарина 1 × 2 m с дебелина 1-2 mm, шлайфмашина, уред за заваряване, колела с лагери d до 400 mm, метална тръба с необходимия диаметър.
За направата на количка за градината са необходими: трион за дърво, ренде, шперплат, две колела, дървени дъски с размери 40×40 мм и дължина 1200-1500 мм, парче тръба или прът с резба с дължина 600-700 мм.
За да се създаде количка от отпадъци, са необходими: заваръчен апарат, колела от мотоциклетен транспорт, парчета метал, остаряло легло от метален тип.
Как да си направя количка със собствените си ръце?
Не е необходимо да сте обучени като дърводелец или заварчик, за да си направите сами количка.
Необходими са ви основни познания за инструментите и умения за работа с дървени детайли или метални части.
Предимство е, ако умеете да работите с дървообработващи инструменти и да заварявате.
Въпреки това, дори и без това умение, можете да си направите багажник от наличния материал, защото всеки човек трябва да може да борави с чук, трион, пирони или винтове.
Можете да почерпите идеи за вдъхновение от майсторските класове в интернет, както и от следното описание, в което подробно ще ви разкажем как да си направите количка от всякакви суровини.
С едно колело
Най-добрият вариант е да се създаде количка с едно колело от дърво. Стъпките са следните:
- Изработва се рамка и върху нея се монтира колело.
- От пръти с дължина 1,2 м се изготвя носеща конструкция.
- Рамковата конструкция се закрепва към товарната платформа с помощта на винтове.
В този момент продуктът е готов за употреба.
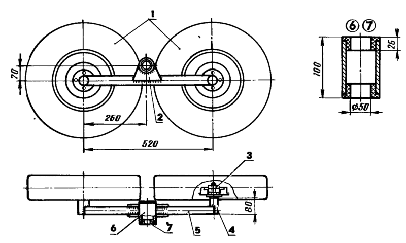
Количка с две колела
Не е трудно да си направите сами количка с две колела от дърво. Не е необходимо да се използват машини за заваряване или рязане на метал. Дървените части могат да се обработват с обикновени инструменти.
Въпреки това обемът, издръжливостта и здравината на тези колички изостават от металните образци с четири колела. Ето производствените стъпки:
- За основата на рамката трябва да вземете пръти с размери поне 70×70 мм. В ъглите на рамката се забиват винтове, а рамката на рамката се укрепва с допълнителни покрития.
- В долната част на рамката се завинтват две лагерни ленти. След това се закрепват колелата.
- Препоръчително е да се направи голяма, удължена метална дръжка. Това ще осигури стабилност на количката при тежки товари. В този случай може да се използва кормило от остарял велосипед или продълговато метално парче.
- Плочите се монтират върху рамката за бордюрите. Размерите им се отразяват на капацитета на уреда. Здравата рамка и добре монтираните колела го правят надежден.
Количката не е толкова маневрена, колкото версията с едно колело, но е надеждна и стабилна.
Количка с четири колела за транспортиране на стоки
Четириколесни версии - те могат да се нарекат тежката артилерия в избора на съвременни колички. Тяхната особеност е наличието на две оси, благодарение на които коритото получава максимални параметри на товароносимост. Моделът се отличава с отлична стабилност.
За изработката на продукта ще ви е необходим ключарски инструмент. Ето ръководство стъпка по стъпка как да го направите:
- Първата стъпка е да се изработи товарното корито.
- За сглобяване на рамката е необходимо да използвате заваръчен апарат. Към рамката трябва да бъде заварена дръжка. За оформяне на рамката ще се използват тръбни профили.
- Всички измервания на платформата за тежести трябва да се направят предварително. Когато се конструира четириколесната платформена количка, размерите на рамката трябва да бъдат съобразени с размера на товара.
- Колелата са заварени към долната част на рамката.
- Пневматичните колела увеличават товароносимостта. Те могат да увеличат възможността за преместване на товари на количката до 80 кг.
Сгъваем дизайн
Количката е предназначена за пренасяне на товари до 50 кг. Основното му предимство са малките размери. За конструирането на сгъваема количка са необходими следните стъпки
- Подгответе участъци от тръбата с дебелина 2 mm;
- изготвяне на шаблон на рамката в реален размер;
- втулките на шарнирите са заварени към рамката на подложката и след това към основната конструкция;
- всички шевове са почистени и полирани.
Градинска количка
Градинските или градинските колички са с олекотена конструкция и не са предназначени за теглене на много тежки или големи товари.
Градинската количка е ръчно изработена, дори от ненужни материали или такива, които можете да намерите под ръка. Това дава възможност да се получи надежден и евтин преносим продукт.
Изработен от дърво
Разгледайте модел на дървена количка с едно колело. Рамката се състои от два надлъжни и два перпендикулярни пръта. Това ще бъде лесно за изработване от тези, които умеят да работят с дърво. Най-простият вариант е следният:
- Основната рама се състои от две надлъжни и две перпендикулярни пръчки, които са под ъгъл 22 градуса една спрямо друга. В предната част на рамата се изрязват канали за осите на колелата. От вътрешната страна на частите се поставят метални пластини, за да се увеличи здравината на конструкцията.
- Долната страна е сглобена от дъски с размери 20x80x475 mm. По отношение на закрепването има винтове, закрепени към надлъжните рамки. Планираният размер на дъното се създава след закрепването му към рамката.
- Маркира се линията на рязане, след което с помощта на циркуляр се правят разрези под необходимия ъгъл от двете страни. Количката ще бъде лесна за преместване.
- За предната и задната дъска се използват рендосани дъски с размери 20 × 80 mm. За страничните стени се използват рендосани дъски с размери 20 × 100 mm. Здравината на дъските се постига чрез закрепване на специални елементи в ъглите.
- Опорите на количката са изработени от дървени дъски. Това подобрява параметрите на твърдост на тялото. Колелото може да бъде закупено или произведено.
- От двете страни на колелото са монтирани два лагера, за да се закрепи главината на колелото, изработена от дърво. След това се монтира оста, поставят се шайби и се затягат гайките.
Готовият продукт се обработва със специален агент, който предпазва дървесината от вредното въздействие на околната среда и удължава експлоатационния ѝ живот.
Изработен от метал
Помислете как да си направите железен курбан за градината. Количката ще бъде доставена с размерите: 600x1000x500 мм - ще бъде лек, с шарнирна ос и не падащ.
Металното изделие за преместване на товари ще бъде издръжливо и ще служи дълги години. Ще ви трябват материали и инструменти за строителството:
- шлайфмашина, заваръчен апарат;
- метален ъгъл 25×25 mm
- ламарина с размери 1 × 2 m и дебелина 1-2 mm;
- Метална тръба с подходящ размер.
Преди да започнете работа, е препоръчително да направите скица на бъдещия продукт, да нанесете върху нея всички детайли и размери. Най-добре е да се направи кутия с обем около 100 литра.
Такава количка ще има значителен товар, затова е подходяща за големи колела. Възможно е да ги отстраните от стар мотопед, велосипед или мотоциклет.
Сега е време да започнете процеса:
- Плочата се изрязва с ножица за рязане на болтове съгласно скицата.
- Заварява се кутия.
- Опорите са изработени от метални ъгли.
- Дръжката е изработена от тънкостенна тръба. Тогава количката няма да е прекалено тежка.
Основната част на устройството е готова, сега основата на колелото може да бъде заварена или завинтена към нея. Основата на колелата на количката е изработена от профилна тръба. Тогава ще ви е необходимо:
- изрежете две парчета тръба с размери, равни на ширината на основата, като добавите място за монтиране на колелата;
- С помощта на малки прегради с диаметър 150-200 мм заварете тръбните секции една към друга, за да образувате правоъгълник;
- за монтиране на колелата към тесните краища на издължения правоъгълник в средата се заваряват кръгли парчета тръба;
- сглобяване на колелата, които се състоят от следните компоненти: фиксираща част, лагери, шпилки, фиксиращи гайки.
Основата с колелата е разположена точно в средата. Количката е готова за работа.
Изработени от отпадъци
Градинска количка може да се направи от битови отпадъци. В този случай той е подходящ за:
- метални отломки;
- колела на мотоциклет;
- остаряло метално легло.
Техниката за създаване на количка не се счита за тежка:
- Създава се рама с 2 рамена и крака под леглото.
- Дъното и стените на резервоара са изработени от стоманена ламарина.
- Съединенията на всички части са заварени на място.
- Резервоарът се монтира върху рамката, стените се огъват и се съединяват с основата.
- Съединенията на кутията са изцяло заварени.
- Вземете краката на леглото и направете мост с две колела, оси и главини.
- Осите са свързани с тръбата от двете страни.
- Оста е заварена към обърнатото тяло.
- За укрепване на конструкцията се използват плочи тип "скоба", изработени от самите вас.
- Колелата са прикрепени към осите.
- Дръжката се изработва от гръбчетата и крачетата и се заварява в правилната позиция за удобна употреба.
Препоръчително е опорният крак на количката да бъде повдигащ се. В противен случай това ще се превърне в пречка. След като сте проучили подробно различните варианти на колички, вероятно ще можете да направите една от тях със собствените си ръце.
Много от вариантите изискват минимални умения и евтини, а понякога и подръчни материали. Изработването на продукт, който да отговаря на личните ви нужди, от парчета строителен материал ще ви осигури количка, която е по-удобна и по-евтина от тази, изработена в магазина.




















































































